


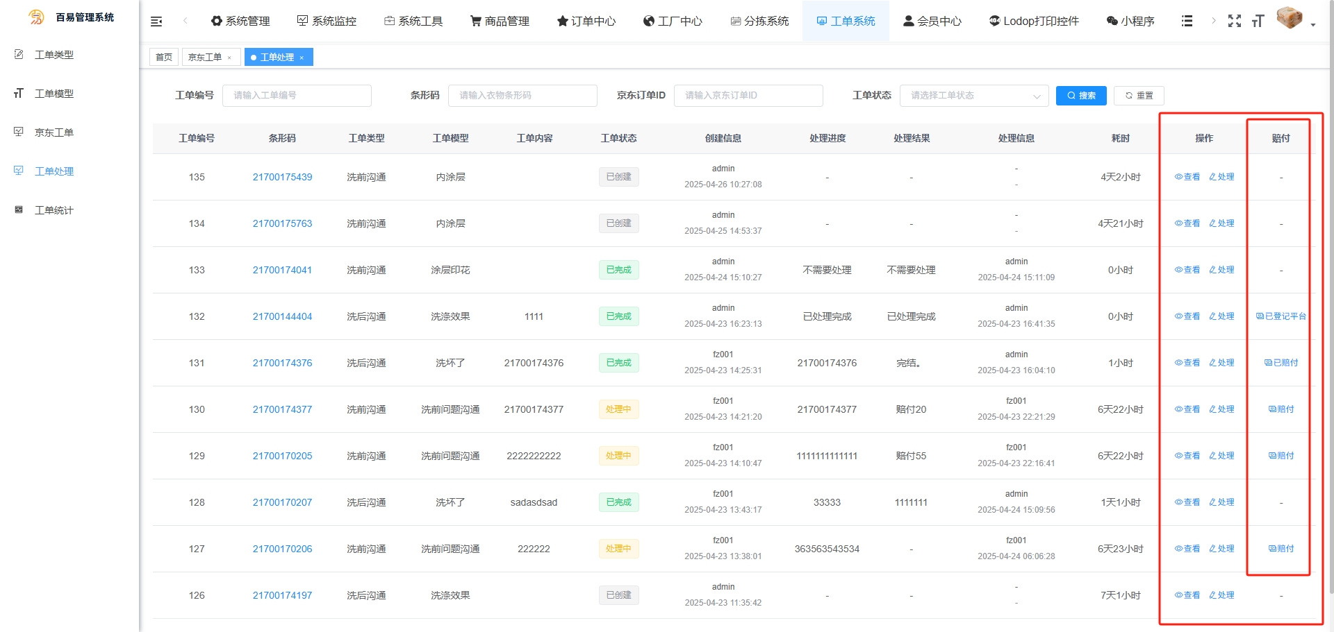
页面显示,外包客服的处理进度,和处理结果。
需要更详细的内容,点击“查看” 里面就有详情。
点击条码,就会显示工厂拆包录入的信息和衣物订单号等信息。
发单必须要用衣物条码。
如果需要同步进度,点击“处理” 就可以填写进度,和处理图片等。
涉及汇报客服谈好赔付,填写了金额,那么,工单的页面“赔付”中,就会出现“赔付”两字。这时候,工厂客服需要点击“赔付”页面,进行赔付。转账后,或者平台赔付,请选择对应的内容,然后填写完成。

处理好了,工厂客服需要再页面点击“闭环”
做闭环可以方便自己工作,可以清楚自己这单处理了没有。这个步骤,是工厂客服做。


这里查询该订单衣物有几个工单。
创建工单:






如果需要同步进度,点击“处理” 就可以填写进度,和处理图片等。
如果涉及赔付,则需要填写金额

注意:赔付金额,一个订单只能填写一次,不允许修改。所以谨记要填写后检查有没有问题。
可以筛选工单状态,未处理,处理中的去处理。毕竟方便不用爬梯。




可统计创建工单,回复工单等统计表。